产品分类
联系我们
CONTACT US
电 话:0379-63210622
手 机:137-0769-6241
地址:洛阳市西工区衡山路五洲国际工业博览城B区31栋119号
乘车路线:可自行驾车前往
一、产品概述
该泵集自吸和无堵塞排污于一身,既可象一般清水自吸泵那样不需安底阀,不需引灌水,又可抽吸含有大颗粒固体块、长纤维的污物、沉淀物、废矿杂质、粪便处理及一切工程污水物,完全减轻工人的劳动强度,而且使用、移动、安装方便、极少维修、性能稳定。
使用范围
1.环境温度≤45℃,介质温度≤60℃。
2.介质PH值铸铁泵为6~9,不锈钢泵为1~14。
3.通过颗粒***大直径为泵口径的60%,纤维长度为口径的5倍。
4.介质中杂质总重量不超过介质总重量的15%,介质比重不超过1240千克/立方米。
二、型号意义

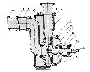
三、结构图

1 | 进口接管 | 7 | 气液分离管 | 13 | 泵轴 |
2 | 进口阀 | 8 | 后盖 | 14 | 轴承盖 |
3 | 中接管 | 9 | 叶轮 | 15 | 底盖板 |
4 | 加水螺栓 | 10 | 机械密封 | 16 | 口环 |
5 | 出口接管 | 11 | 挡水圈 | ||
6 | 泵体 | 12 | 轴承座 |
四、技术特性
五、结构特点
ZW型自吸式排污泵是本厂设计人员根据ZX型自吸离心泵及QW型污水泵的结构及性能,借鉴国内外同类产品之优点,并多方面吸收广大用户的使用要求和所提意见,研制而成的集自吸及排污一身,既可象一般清水自吸泵那样不需安底阀,不需灌引水,又可抽吸含有大颗粒固体体块、长纤维的污物,沉定物、废矿杂质、粪便处理及一切工程污水物和胶质液体,完全减轻工人的劳动强度,而且使用、移动、安装方便,极少维修,性能稳定。
六、安装拆卸
七、性能参数
型号 | 流量 | 扬程 | 功率 | 转速 | 效率 | 汽蚀余量 |
ZW25-8-15 | 8 | 15 | 1.5 | 2900 | 45 | 2.0 |
ZW32-5-20 | 5 | 20 | 2.2 | 2900 | 45 | 2.5 |
ZW32-10-20 | 10 | 20 | 2.2 | 2900 | 45 | 2.5 |
ZW32-9-30 | 9 | 30 | 3 | 2900 | 48 | 2.5 |
ZW40-10-20 | 10 | 20 | 2.2 | 2900 | 45 | 2.5 |
ZW40-20-15 | 20 | 15 | 2.2 | 2900 | 45 | 2.5 |
ZW40-15-30 | 15 | 30 | 3 | 2900 | 48 | 2.5 |
ZW50-10-20 | 10 | 20 | 2.2 | 2900 | 45 | 2.5 |
ZW50-20-12 | 20 | 12 | 2.2 | 2900 | 45 | 2.5 |
ZW50-15-30 | 15 | 30 | 3 | 2900 | 48 | 2.5 |
ZW50-20-35 | 20 | 35 | 7.5 | 2900 | 48 | 2.5 |
ZW65-30-18 | 30 | 18 | 4 | 2900 | 45 | 2.5 |
ZW65-25-30 | 25 | 30 | 5.5 | 2900 | 50 | 3.0 |
ZW65-25-40 | 25 | 40 | 7.5 | 2900 | 50 | 3.0 |
ZW65-40-25 | 40 | 25 | 7.5 | 2900 | 50 | 3.0 |
ZW65-65-25 | 65 | 25 | 7.5 | 2900 | 52 | 3.0 |
ZW80-40-16 | 40 | 16 | 4 | 1450 | 50 | 3.0 |
ZW80-40-25 | 40 | 25 | 7.5 | 2900 | 50 | 3.0 |
ZW80-25-40 | 25 | 40 | 7.5 | 2900 | 50 | 3.0 |
ZW80-65-25 | 65 | 25 | 7.5 | 2900 | 52 | 3.0 |
ZW80-80-35 | 80 | 35 | 15 | 1450 | 45 | 3.0 |
ZW80-40-50 | 40 | 50 | 18.5 | 2900 | 50 | 3.0 |
ZW80-50-60 | 50 | 60 | 22 | 1450 | 55 | 3.0 |
ZW100-100-15 | 100 | 15 | 7.5 | 1450 | 50 | 4.0 |
ZW100-80-20 | 80 | 20 | 7.5 | 1450 | 53 | 4.0 |
ZW100-100-20 | 100 | 20 | 11 | 1450 | 53 | 4.0 |
ZW100-100-30 | 100 | 30 | 22 | 2900 | 53 | 4.0 |
ZW100-80-45 | 80 | 45 | 37 | 2900 | 55 | 4.0 |
ZW100-80-60 | 80 | 60 | 37 | 2900 | 53 | 4.0 |
ZW100-80-80 | 80 | 80 | 45 | 2900 | 50 | 4.0 |
ZW125-120-20 | 120 | 20 | 15 | 2900 | 55 | 4.5 |
ZW150-180-14 | 180 | 14 | 15 | 1450 | 60 | 5.0 |
ZW150-180-20 | 180 | 20 | 22 | 1450 | 60 | 5.0 |
ZW150-180-30 | 180 | 30 | 37 | 1450 | 65 | 5.0 |
ZW150-180-38 | 180 | 38 | 55 | 1450 | 45 | 5.0 |
ZW200-280-14 | 280 | 14 | 22 | 1450 | 65 | 5.0 |
ZW200-280-20 | 280 | 20 | 37 | 1450 | 62 | 5.0 |
ZW200-300-25 | 300 | 25 | 45 | 1450 | 59 | 5.0 |
ZW200-280-28 | 280 | 28 | 55 | 1450 | 55 | 4.8 |
ZW250-420-20 | 420 | 20 | 55 | 1450 | 61 | 6.0 |
ZW300-800-14 | 800 | 14 | 55 | 1450 | 65 | 6.0 |